刚刚,跳水!超20万人爆仓

Connor 火币pro官网下载 2025-10-15 12 0

【导读】加密货币市场集体走低,超20万人被爆仓

中国基金报记者 晨曦

刚刚,加密货币市场再度跳水!

10月14日晚间,比特币再度走低,一度跌破11万美元,跌幅达4.6%。

刚刚,跳水!超20万人爆仓

以太坊一度跌破3900美元,跌幅超8%。

刚刚,跳水!超20万人爆仓

主流加密货币集体走低,狗狗币、币安币、艾达币等均大幅下跌。

刚刚,跳水!超20万人爆仓

展开全文

CoinGlass数据显示,最近24小时,全球共有20.66万人被爆仓,爆仓总金额为6.56亿美元,其中,多单爆仓4.75亿美元,空单爆仓1.82亿美元。

刚刚,跳水!超20万人爆仓

美股加密货币概念股普跌。

刚刚,跳水!超20万人爆仓

此外,根据德勤近期研究,约25%的比特币可能暴露在量子攻击风险下。若这些比特币未能及时转移至抗量子地址,待强大量子运算机投入使用后,可能造成数千亿乃至兆美元的损失。数字资产管理公司Capriole Investment创始人、长期比特币倡导者Charles Edwards指出,量子运算威胁远比普遍认知的更迫近,并敦促社区在2026年前构建防御体系。

北京时间周三凌晨00:20,美联储主席鲍威尔将在全美商业经济协会举办的活动上发表讲话,主题为《经济展望与货币政策》。业内认为,鲍威尔的讲话可能左右市场对降息节奏及整体货币政策的预期,从而决定当前加密货币市场的下行趋势是加剧还是企稳。

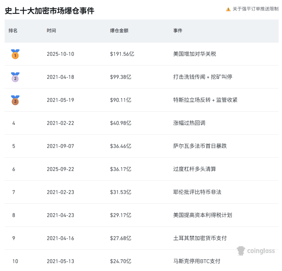
就在上周,美国总统特朗普发布关税威胁,加密货币市场遭遇“大清洗”,主流币种集体大跌。CoinGlass数据显示,10月10日爆仓金额超191亿美元,居于历史首位。随后虽有所回升,但当天暴跌的“创伤”仍令投资者心有余悸。

刚刚,跳水!超20万人爆仓

区块链数据公司Santiment指出,上周五的抛售并非单纯受关税消息驱动。散户交易者迅速将暴跌归咎于关税对峙,但更深层的结构性问题正在积聚,包括过度杠杆和多头仓位的极端集中。

TD Cowen分析师在近期报告中表示,美国参议员们在推动加密货币市场结构法案通过一事上行动迟缓,这可能导致该法案的通过时间推迟至中期选举之后。

过去一年,已有多名民主党人对特朗普总统与数字资产的关联表示担忧,这一情况反过来使立法进程变得更加复杂。据计算,特朗普通过其家族的加密货币项目(包括World Liberty Financial去中心化金融稳定币项目,以及“TRUMP”“MELANIA”两款迷因币)已获利约6.2亿美元。

编辑:黄梅

校对:王玥

制作:舰长

审核:陈墨

版权声明

《中国基金报》对本平台所刊载的原创内容享有著作权,未经授权禁止转载,否则将追究法律责任。

评论